Любой современный блок питания должен обеспечивать стабильное питание нагрузки. Стабильное питание обеспечивает постоянные режимы работы радиоустройст, позволяет добиться более высоких, устойчивых режимов. В статье будет приведено два примера стабилизатора напряжения на двух разных микросхемах на 5 и на 9 вольт.
Начнем с 5-вольтового стабилизатора
Стабилизатор напряжения на 5 вольт
Стабилизатор выполнен на микросхеме lm7805, можно взять отечественный аналог КРЕН5. Ток на выходе до 2 А.

Очень простая схема. Впрочем для 9 вольт она не более сложная. Так как питание на 5 вольт применяется для USB устройств, то тут же приведена распиновка для USB.
Стабилизатор напряжения на 9 вольт на микросхеме КР142ЕН8А
Далее приведена информация о простейшем стабилизаторе напряжения на 9 вольт ±0,27 В. стабилизатор выполнен на микросхеме КР142ЕН8А. Данный стабилизатор не является регулируемым, этот режим не поддерживается микросхемой КР142ЕН8А. Максимальный ток на выходе составляет до 1,5 А. Для сохранения характеристик микросхемой и уменьшения вероятности от теплового пробоя на микросхему лучше установить теплоотвод - радиатор.
Радиоэлементы применяемые в стабилизаторе питания на 9 ВМикросхема А1- КР142ЕН8А - 1 шт. (Корпус микросхемы: КТ28-2 (TO220), Импортный аналог: ESG7808P);
Конденсаторы электролитические С1 и С2 - 10-47 МкФ 25 вольт - 2 шт.;
На рисунке далее приведена схема стабилизатора на микросхеме. Фактически микросхема шунтирует излишний ток через себя и вывод 2. Особенностью схемотехники является то, что конденсаторы должны быть установлены не более чем в 50 мм от микросхемы.
Максимальная рассеиваемая мощность для микросхемы 8 Вт. Максимальное входное напряжение 35 В. Соответственно при увеличении разницы напряжений на входе и выходе уменьшается выходной ток. Все дело в том, что при увеличении напряжения на входе, необходимо будет уменьшить напряжение на выходе, то есть микросхема должна поглотить большую мощность которая ограничивается ее максимальной рассеиваемой мощностью. Из 35 вольт 26 упадет на микросхеме и 9 вольт на нагрузке. Ток при этом протекаемый в цепи рассчитывается по формуле Iвых. макс.=Pmax/(Uвх-Uвых)=8/(35-9)=0,307А. То есть 0,307 А это максимальный ток для нагрузки при напряжении на входе 35 В.
Принципиальная схема, плата для монтажа и маркировка микросхемы.
Особенностью микросхемы является тепловая защита и защита от КЗ.
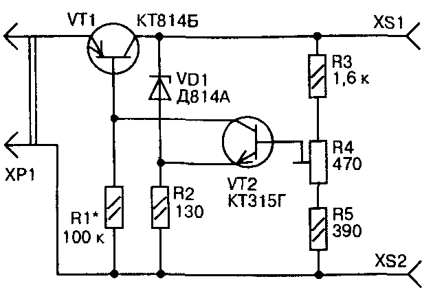
Стабилизатор на 9 вольт на транзисторах

Принципиальная схема стабилизатора на 9 вольт на транзисторах
Выходное напряжение стабилизатора 9В, максимальный ток нагрузки 300 мА. При изменении тока нагрузки от 20 до 300 мА выходное напряжение изменяется всего
лишь на 0,17 В.
Стабилизатор защищен от перегрузки и короткого замыкания на выходе — когда ток нагрузки превысит максимальный (300 мА), стабилизатор отключится. Стабилизатор
состоит из регулирующего транзистора VT1 и каскада сравнения, собранного на транзисторе VT2, стабилитроне VD1 и резисторах R2...R5. Подстроечным резистором
R4 устанавливают выходное напряжение.
Резистор R1 обеспечивает запуск стабилизатора (появление выходного напряжения) при подключении его к источнику питания или после устранения перегрузки на
выходе.
Налаживание стабилизатора сводится к установке подстроечным резистором выходного напряжения 9,1 ...9,3 В без нагрузки и подборе резистора R1 — он должен быть
такого сопротивления, чтобы обеспечивался надежный запуск стабилизатора без нагрузки как при подключении к сети, так и после
устранения короткого замыкания на выходе.
Выходное напряжение при подключении резистора R1 может возрастать не более чем на 0,1 В. Если понадобится эксплуатировать стабилизатор при токе нагрузки до 500 мА (естественно, для этого варианта придется подобрать резистор R2), радиатор под транзистор VT1 придется применить больших размеров.
В среднем 20 кв см на Вт (при аллюминии) надо радиоатор. то есть в нашем случае надо примерно 5 часть, то есть 5 кв см. Типо того что-то.