
Для чего нужен металлоискатель даже не нужно говорить. Это не только, в некоторых случаях, практичная вещь для поиска потерянного, но и возможность побыть романтиком, в поисках затерянных сокровищ или просто старой металлической утвари.
В этой статье мы приведем описание и электросхему чувствительного металлоискателя. Особенностью данного металоискателя является хорошая чувствительность при поиске металлов со слабыми ферромагнитными свойствами, таких как, например, медь, олово, серебро. Значительный эффект дает применение кварца.
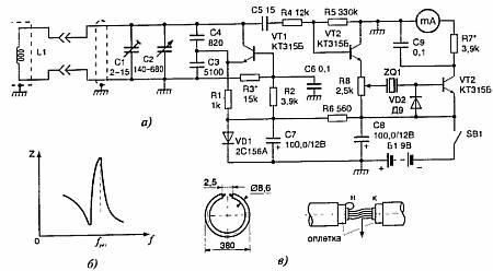
Электросхема чувствительного металоискателя
Металлоискатель, принципиальная схема которого приведена на рис. 1,а, состоит из измерительного генератора, собранного на транзисторе VT1, и буферного каскада — эмиттерного повторителя, собранного на транзисторе VT2, отделенных кварцевым резонатором ZQ1 от индикаторного устройства — детектора на диоде VD2 с усилителем постоянного тока на транзисторе VT3. Нагрузкой усилителя служит стрелочный прибор С током полного отклонения 1 мА. Вследствие высокой добротности кварцевого резонатора малейшие изменения частоты измерительного генератора будут приводить к уменьшению полного сопротивления последнего, как это видно из характеристики, приведенной на рис. 1,б, а это, в конечном итоге, повысит чувствительность прибора и точность измерений. Подготовка к поиску заключается в настройке генератора на частоту параллельного резонанса кварца, равную 1 МГц. Эта настройка производится конденсаторами переменной емкости С2 (грубо) и подстроечным конденсатором C1 (точно) при отсутствии около рамки металлических предметов. Поскольку кварц является элементом связи между измерительной и индикаторной частями устройства, его сопротивление в момент резонанса велико и минимальное показание стрелочного прибора свидетельствует о точной настройке устройства.
Уровень чувствительности регулируется переменным резистором R8. Особенностью устройства является кольцевая рамка L1, изготовленная из отрезка кабеля. Центральную жилу кабеля удаляют и вместо нее продергивают шесть витков провода типа ПЭЛ 0,1–0,2 мм длиной 115 мм. Конструкция рамки показана на рис 1,в. Такая рамка обладает хорошим электростатическим экраном.

Рис. 1. Малогабаритный чувствительный металлоискатель
Жесткость конструкции рамки металлоискателя обеспечивается размещением ее между двумя дисками из оргстекла или гетинакса диаметром 400 мм и толщиной 5–7 мм. В приборе использованы транзисторы КТ315Б, опорный диод — стабилитрон 2С156А, детекторный диод типа Д9 с любым буквенным индексом. Частота кварца может быть в интервале частот от 90 кГц до 1,1 МГц. Кабель — типа РК-50.